Apple çok konuşulacak yeni bir patent aldı!
Apple, Deployable Key Mouse isimli yeni bir patent aldı. Patent, gelecek MacBook cihazlarında kullanılabilir.
ABD Patent ve Ticari Marka Ofisi'ne sunulan yeni bir patent, Apple'ın gelecekteki MacBook'ları için aksesuar görevi görebilir.
Apple'ın satın aldığı bu patent gelecekteki MacBook modelleri için ekranda hızlı gezinme özelliği sunan hassas bir fare görevi görecek. Deployable Key Mouse olarak adlandırılan patent başvurusu, anahtarın nasıl görüneceğine dair bir bakış da sundu. Ayrıca anahtarın bir MacBook'taki olası performansına ilişkin bir açıklama da yapıldı.
Apple, hassas bir fare işlevi görebilen çıkarılabilir tuşlara sahip bir klavyenin patentini aldı

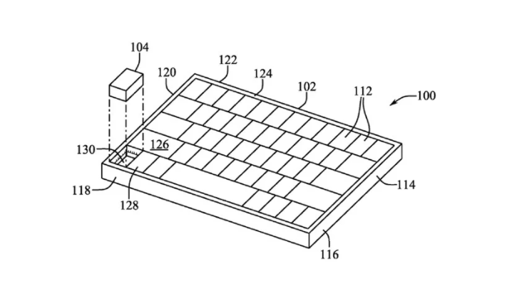
MacBook'un standart görünümlü makas sistemli klavyesi yeni tasarımda da aynı şekilde karşımıza çıkacak. Ancak ek olarak, görünümden gizlenen çıkarılabilir bir tuşa daha sahip olacak. Anahtara gömülü olarak, PC için rahat, taşınabilir ve hassas bir sensör de gelecek. Yeni teknoloji cihazı, grafik tasarım, bilgisayar destekli tasarım ve modelleme gibi hassas görevler için bir nimet niteliğinde olacak. Özellik ayrıca belge düzenleme için de çok kullanışlı olacak. Neticede bu görevler elle tutulan bir fare yardımıyla çok daha iyi yapılabiliyor. Patent belgesine göre, yeni anahtar pille çalışacak ve klavyenin kenarına doğru, görünüşte gizli bir alana yerleştirilecek.
Patent başvurusu yapılmış olsa da ürünün kesin olarak gelip gelmeyeceği belli değil. Ancak gelmesi durumunda MacBook cihazları üzerinden çalışan insanların işini kolaylaştıracağı kesin. Açıkçası, durum ne olursa olsun, gelecekteki MacBook'lar için konuşlandırılabilir bir anahtar konsepti, özellikle görevlerinde hassasiyet isteyen profesyoneller olmak üzere, Apple müşterilerinin bir bölümünü oldukça tatmin edecektir.
