Apple'ın yeni bombası rakiplerini rahatsız edebilir!
Akıllı telefon sektörünün en önemli isimlerinden biri konumunda bulunan Apple’ın esnek ekran patenti, teknoloji meraklılarını fazlasıyla heyecanlandırdı.
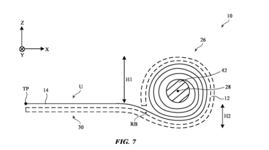
Teknoloji devi Apple, esnek ekran teknolojisi üzerine yaptığı yeni bir patent başvurusuyla gündemde. Apple'ın yeni patent başvurusu, ekrana sarmal bir biçimde depolanabilen ve gerektiğinde açılarak düz bir hale gelen bir cihazı işaret ediyor. Bu teknolojiyi iPhone, iPad, televizyonlar, masaüstü ekranları ve araç gösterge panelleri gibi bir dizi ürününde kullanmayı planlayan Apple, 2014'ten bu yana genişletilebilir ekran araştırmalarına devam ediyor.
Apple'ın yeni cihazı, sarmal haldeyken bir makaraya sarılır ve depolanır, görüntüleme için ise düz bir şekle geçer. Ekran, şeffaf bir koruyucu tabaka ile kaplanmış olup, bu tabaka, bir piksel dizisi ve cam tabakanın yerel olarak inceltilmiş bir bölgesini içerir. Ekranın dış yüzeyi, çiziklere sebebiyet verebilecek objelere maruz kalırken, iç yüzey daha korunaklıdır ve daha düz bir yapıya sahiptir. Apple, bu durumu ekranın sarmal haldeyken dış yüzeyindeki sıkıştırma gerilimini artırarak, cam tabakanın çatlama riskini önlemeyi planlıyor.

Apple'ın yeni bombası rakiplerini rahatsız edebilir!
Teknoloji dünyasında, esnek ekran teknolojisi üzerine çalışan birçok şirket bulunuyor. Bu şirketler arasında LG, OPPO ve Motorola gibi markalar öne çıkıyor. LG, satın alınabilir esnek televizyonlar üretti ve ayrıca bir esnek telefon için planlarını duyurdu. Motorola ise, Mobile World Congress'te esnek ekranlı Moto Razr modelini sergiledi. Xiaomi de yakın zamanda esnek ekranlı telefonlar için patent başvurusunda bulundu.
Ancak, Apple'ın yeni patent başvurusu, yakın gelecekte esnek ekranlı bir iPhone'un çıkacağı anlamına gelmiyor. Apple'ın esnek ekran teknolojisini başka ürünlerinde de kullanmayı düşünüyor olabileceği göz önünde bulundurulmalıdır. Esnek ekranlı ürünlerin piyasaya sürülmesi belki de uzak bir gelecekte gerçekleşebilir, ancak söylentilere göre Apple, 2026 yılında piyasaya sürülmesi beklenen bir katlanabilir MacBook üzerinde çalışıyor.
