Xiaomi'den katlanabilir telefon pazarına yeni rakip!
Xiaomi yeni bir katlanabilir cihaz üzerinde çalışıyor olabilir. 2020301357510 başvuru numarası altında karşımıza çıkan cihaz Çinli teknoloji devinin planlarına ışık tutuyor.
Xiaomi, yeni bir katlanabilir akıllı telefon üzerinde çalışıyor. Şirket, Mix Fold'u bu yılın başlarında Çin'de piyasaya sürdü. Katlanabilir akıllı telefon, Galaxy Z Fold 3 mekanizmasına benziyor. Henüz resmi olarak Çin dışında piyasaya sürülmedi. Bu arada, Çinli akıllı teknoloji devinin kapaklı katlanır akıllı telefonu da yapım aşamasında.
Xiaomi'den katlanabilir telefon sektörüne yeni rakip!

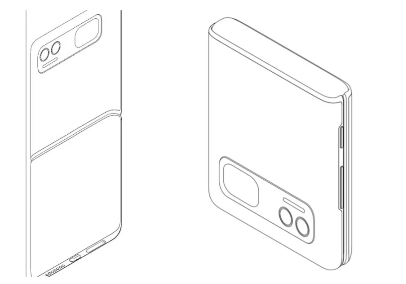
2020301357510 başvuru numarası altında yaklaşan katlanabilir telefonun görüntüleri Çin Ulusal Fikri Mülkiyet İdaresi'nde (CNIPA) tespit edildi. Görüntüler cihazın adını veya teknik özelliklerini açıklamasa da katlanabilir Xiaomi'nin özellikleri ve diğer önemli unsurları hakkında fikir sahibi oluyoruz. Gelin hep birlikte online olarak ortaya çıkan Xiaomi Flip telefon patent görsellerine, özelliklerine ve diğer detaylarına bir göz atalım.
Xiaomi, katlanabilir ekranlı bir flip telefon için CNIPA'da yeni bir patent başvurusunda bulundu. Cihazın katlama mekanizması Samsung Galaxy Z Flip 3'e benziyor. Xiaomi, flip tarzı katlanabilir akıllı telefonla ilgili herhangi bir ayrıntıyı resmi olarak doğrulamadı.
Xiaomi flip akıllı telefonun dikdörtgen bir kamera adası olacak. Küçük bir ekrana ve çift kamera kurulumuna sahip. Kamera modülünün üzerinde (katlandığında), muhtemelen LED flaş için olan bir kesik mevcut. Akıllı telefonu açtığınızda, uzun bir ekran karşınıza çıkıyor. Şu anda ekran boyutuyla ilgili ayrıntılara sahip değiliz. Bildiğimiz şey, sol üst köşede hap şeklinde bir kesik olduğu. Cihaz çift ön kamera kurulumuna ev sahipliği yapabilir. Ekranın çevresinde kalın çerçeveler var. Çerçevenin sağ tarafında güç ve ses tuşları bulunuyor.
Alt kenarda USB Type-C bağlantı noktası, hoparlör ve SIM yeri bulunuyor. Sol ve üst kenarlar aynı hizada ve herhangi bir bağlantı noktası veya düğme barındırmıyor. Flip telefonun diğer detayları bilinmiyor. Mevcut olduğunda daha fazla ayrıntı paylaşacağız. Xiaomi flip telefon, Samsung Z Flip serisini almak için önümüzdeki yıl rekabetçi bir fiyatla piyasaya sürülebilir.
