Motorola Razr efsanesi katlanarak dönebilir
Ortaya çıkan bir patent tasarımı Motoro Razr modelinin katlanabilir bir sürümünün geliştirilebileceğinin sinyallerini verdi.
Son ayların popüler konusu olan katlanabilir telefonlara ilk örnekler Samsung Galaxy Fold ve Huawei Mate X ile geldi. Önümüzdeki yılların trendi olması beklenen bu teknoloji farklı üreticilerin de planlamalarına girmiş durumda. Bunlardan biri olan Motorola da bir döneme damgasını vuran ve Türkiye'de çok tutulan Razr modelinin katlanabilir sürümü için bir patent aldı.
Motorola Razr efsanesi katlanarak dönebilir
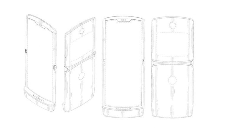
XDA Developers sitesinin haberine göre Motorola katlanabilir ekranlı Razr modeli için bir patent aldı. Patentin detaylarına baktığımızda ise daha önce tek ekranlı ve tuş takımlı olan Razr modelinin açıldığında büyük bir ekrana sahip telefon haline geldiği görülüyor.
Tamamen katlanabilir bir ekrandan oluşan modelin arka yüzünde de küçük bir ekran bulunacak. Bu ekranda bütün uygulamalar değil ama MotoDisplay, MotoActions ve MotoCamera gibi bazı uygulamalara erişim olacak.

Samsung gibi Motorola da iki ekranlı bir tasarım kullanmayı ve içe doğru katlanan bir ekranlı bu tasarımı hayata geçirmeyi planlamış görünüyor. Geçtiğimiz günlerde Motorola'nın üst düzey yetkililerinden Dan Dery, katlanabilir bir telefon üzerinde çalıştıklarını açıklamıştı.
Bu modelin ne zaman satışa sunulacağı tam olarak bilinmiyor. Ancak beklentiler bu yılın sonlarına ya da önümüzdeki yılın başında Motorola Razr katlanabilir telefonunun piyasaya sürüleceği yönünde.
