Apple şaşırtıcı bir patent satın aldı! Tamamen cam iPhone
Apple şaşırtıcı bir patent satın aldı. Şirket cihazları için camdan oluşturulmuş bir tasarım planlıyor gibi görünüyor. İşte tüm detaylar.
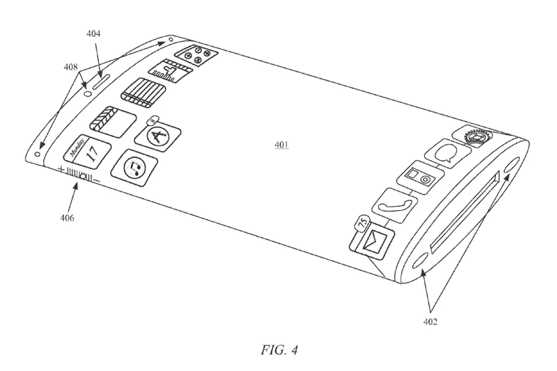
Apple, elektronik aletlerin geleceğinin tamamen cam olduğuna inanıyor. Şirket yaklaşık 8 yıldır gerçekten çılgın tasarımlar sergileyen patentler alıyor. Son zamanlarda, Cupertino merkezli teknoloji devi, ABD Patent ve Ticari Marka Ofisi'nden tamamen cam bir iPhone, Mac Pro Tower ve hatta bir Apple Watch hakkında patentler satın aldı.
Söz konusu komple cam iPhone, ön ve arka tarafında gerçek bir ekrana sahip altı taraflı bir cam muhafazaya sahip olacak. Patent detaylı olarak incelendiğinde, Apple'ın burada belirli bir ekran teknolojisinin patentini almadığı, bunun yerine esnek bir OLED ekranı, cihazın her tarafını saran kesintisiz bir cam parçasının altına yapıştıran bir üretim sürecinin patentini aldığı görülüyor. Camın kendisi bazı yerlerde opak olabilir.
Apple şaşırtıcı bir patent satın aldı! Tamamen cam iPhone

Apple'ın aklındaki tek şey tamamen cam bir iPhone değil. Şirket ayrıca tamamen cam yapıya sahip şeffaf bir bir Mac Pro Tower konseptinden de bahsediyor. Muhafazası tamamıyla veya büyük bölümü camdan yapılmış bir Apple Watch da düşünülüyor. Ancak elbette bu ürünler yapısal bütünlüklerine bakıldığında zayıf kalırlarsa, camdan bir ürün ancan fikir olarak kalacaktır. Apple bunun farkında gibi görünüyor ve muhafazaların dayanıklılığı, çatlama direncini veya diğer fiziksel özellikleri artırmaya yardımcı olmak için çalışmalarını sürdürüyor.
iPhone'un yeni neslinin ve hatta ondan sonrakinin böyle bir spor teknolojisi olması pek olası değil. Yine de, Apple yakın gelecekte böyle bir şeyi başarabilirse, oyunun kurallarını değiştirecektir.
