Galaxy S10 parmak izini ekrandan okuyacak!
Güney Koreli Samsung'un halen geliştirme aşamasında olan Galaxy S10 modelinde ekrandan parmak izi okuma teknolojisinin yer alması bekleniyor.
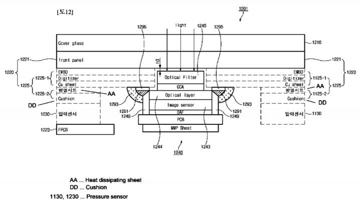
Teknoloji şirketlerinden Samsung, yeni modeli Galaxy S10 üzerinde çalışıyor. Ortaya çıkan bir patent yeni modelde ekrana gömülü parmak izi teknolojisinin olacağının sinyallerini verdi.
Galaxy S10 parmak izini ekrandan okuyacak!
Firmanın halen satışta olan Galaxy S9 modeli için de benzer iddialar ortaya atılmış ancak bu modelde ekrana gömülü parmak izi okuma teknolojisi yer almamıştı. Benzer bir iddia Galaxy Note 9 için de yapılmış. Ancak bu iddia da gerçekleşmemişti.

Şimdi aynı durum Galaxy S10 modeli için de geçerli olacak gibi görünüyor. Ortaya çıkan patente göre Samsung parmak izini ekrandan okutmak için yeni bir teknoloji geliştiriyor. Bu sayede ön ya da arka yüzde parmak izi okuyucu kullanmaya gerek kalmadan ekrandan parmak izi okuma yapılabilecek.
Patent çizimlerindeki bilgilere göre parmak izi teknolojisi optik okuyucu ile birleştiriliyor. Bu sayede geniş bir alanda parmak izi okuma mümkün olacak. Elbette bu patent Samsung'un bu teknolojiyi ilk telefonunda kullanacağı anlamına gelmiyor. Halen geliştirme aşamasında olan Samsung'un bu teknolojisi S10 ya da daha sonra çıkacak telefonlarında kullanılabilir.
Günümüzde ekrandan parmak izi okuma teknolojisi bazı markaların modellerinde yer alıyor. Son olarak Huawei de Mate 20 Pro modelinde bu teknolojiyi kullanmıştı.
