Microsoft'tan tokatlanarak kapanan akıllı telefon!

Microsoft'un aldığı bu patent ile gerçek olacak.

Microsoft'tan tokatlanarak kapanan akıllı telefon!

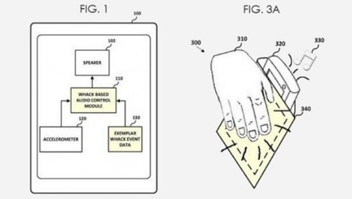
Eğer telefonunuzun açık olması yasak bir yerde iseniz ve unuttuysanız veya o anda çalmasını istemiyorsanız elinize almadan telefonunuzu tek hamleyle kapatabileceksiniz.

Microsoft'un yeni aldığı patent ile bu soruna çare geliyor ve eminiz ki birçok kişinin bu teknoloji hoşuna gidecek. Şirketin aldığı patente göre sadece bir tokat yardımıyla cihazınızı kapatabileceksiniz. Bu yol birçok kişinin telefonuna zarar vereceğine düşünmesine eden olacaktır. Ancak teknolojiye göre bu yöntem cep telefonunuza zarar vermeyecek.

1347862079_ms-patent-whack.jpg

Microsoft'un aldığı patente göre telefonunuza kapatmak için sadece vurmak yetecek. Umarız ki bundan sonraki telefonlar bu darbelere dayanıklı olarak üretilirler.